认定对比文件公开了权利要求的技术特征,或者说对比文件给出了权利要求限定的技术方案的技术启示,不仅要求对比文件中包含有相应的技术特征,还要求相应的技术特征在对比文件中所起的作用与被公开的技术特征在权利要求中所起的作用相同。相应的技术特征在对比文件中所起的作用仅指相应的技术特征在对比文件公开的技术方案中实际起的作用,不包括相应的技术特征可具有的其他作用。
基本案情
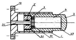
最高人民法院2012知行字第3号案针对的是专利复审委员会作出的第14603号无效宣告审查决定,涉及名称o为“快进慢出型弹性阻尼体缓冲器”的实用新型专利。涉案专利的权利要求如下:"1、一种快进慢出型弹性阻尼体缓冲器,主要由套筒座(1),承撞头(2),活塞(3),弹性阻尼体(4)和密封装置(5)组成,其特征在于:在承撞头(2)的内腔(22)中装入弹性阻尼体(4),将活塞(3)与活塞杆(31)相连接,装入承撞头(2)的内腔圆周部位设置有单向限流装置(32),压缩行程时单项限流装置(32)打开,回覆行程时单项限流装置(32)关闭,活塞(3)外径与内腔(22)之间留有间隙。”

涉案专利附图
针对涉案专利,无效请求人于2009年11月12日向国家知识産权局专利复审委员会提出了无效宣告请求,理由是权利要求1相对于2000年第一期《国外铁道车辆》(下称证据1)不具有创造性。
证据1公开了两种弹性胶泥缓冲器,其中图(a)为带单向阀的方案。图(a)中示出该弹性胶泥缓冲器包含有套筒座、壳体、活塞、弹性胶泥和密封圈,壳体和内腔中装入弹性胶泥,活塞外径与内腔之间留有间隙。图(a)中未示出该单向阀的具体形状和位置。证据1的文字部分记载两种缓冲器结构方案的主要区别是,活塞杆压缩后返回到初始位置的原理不同。

证据1中的图(a): 带单向阀的方案
国家知识产权局专利复审委员会认为,证据1隐含公开了涉案专利权利要求1的技术特征“沿活塞圆周部位设置有单向限流装置”,涉案专利权利要求1与证据1的区别特征在于:压缩行程时单向限流装置打开,回覆行程时单向限流装置关闭。其所要实际解决的技术问题是通过与在活塞上的限流装置配合活塞外径和内腔之间留有的间隙实现缓冲器的快进慢出。而本领域技术人员容易想到将单向限流装置反装来实现缓冲器的快进慢出。故在证据1的基础上结合本领域技术人员的常规设计得到涉案专利权利要求1的技术方案是愿而易见的,该权利要求1不具备创造性1。
审理结果
本案一审和二审判决2均认篇,作为对比文件的证据1的附图和文字部分既没有标明也没有描述单向阀的具体形状和位置,专利复审委员会认定证据1隐含公开了权利要求的技术特征,缺乏事实依据,且与《审查指南》的相关规定相悖。二审判决更明确指出,对比文件没有说明此处的单向阀是否为本专利相同位置和作用的单向阀。
最高人民法院认为,涉案专利的单向限流装置(单向阀)的作用是实现承撞头的快进慢出,达到保护设备和降低噪音的目的。证据1中单向阀的作用是使压缩后的活塞杆返回到初始位置。由于证据1中单向阀的作用不同于涉案专利权利要求1中单向限流装置的作用,故涉案专利权利要求1中“沿活塞圆周部位设置有单向限流装置”的技术特征,并不能从证据1中直接地、毫无异议地确定。最高人民法院最终以相同的理由维持了两审判决结果3。
本案带来的思考
授予专利权的权利要求应当具备新颖性和创造性。为判断权利要求是否具备新颖性和创造性等专利授权条件所引用的相关文件通称需对比文件。若权利要求的技术特征被对比文件公开,则该权利要求不具备新颖性或创造性,在专利审查程序中不会被授予专利权,在专利无效程序中专利权会被宣告无效。为此,《专利审查指南》第二部分第三章第2.3节具体规定,引用对比文件判断发明或者实用新型的新颖性和创造性等时,应当以对比文件公开的技术内容为准。该技术内容不仅包括明确记载在对比文件中的内容,而且包括对于所属技术领域的技术人员来说,隐含的且可直接地、毫无疑义地确定的技术内容。但是,不得随意将对比文件的内容扩大或缩小。另外,对比文件中包括附图的,也可以引用附图。但审查员在引用附圄时必须 注意,只有能别从附图中直接地、毫无疑义地确定的技术特征才属于公开的内容,由附图中推测的内容,或者无文字帮助、仅仅是从附图中测量得出的尺寸及其开系,不应当作为已公开的内容4。但是对于权利要求的技术特征被对比文件公开的认定标准,以及“隐含的且可以直接地、毫无疑义地确定”的具体含义,《专利审查指南》中并无提及。这就导致了在案件审理中,对于对比文件是否公开了权利要求的某个技术特征或是否存在技术启示,经常出现不同的认定意见。对此,笔者认为,认定对比文件公开了权利要求的技术特征或存在技术启示,不仅要求对比文件中包含有相应的技术特征,还应要求相应的技术特征在对比文件中所起的作用与被公开的技术特征在权利要求中所起的作用相同。相应的技术特征在对比文件中所起的作用是指相应的技术特征在对比文件公开的技术方案中实际起的作用,不包括相应的技术特征可具有的其他作用。
下面作进一步分析。
认定权利要求的技术特征被对比文件公开意味着对比文件中相应的技术特征和该权利要求中的技术特征是等价的。在权利要求的技术方案中,技术特征本身和它在该技术方案中所起的作用密不可分,割裂了这两者会使技术特征脱离技术方案和技术方案所要解决的技术问题。权利要求中技术特征本身与所起作用的密不可分性决定了,认定对比文件公开了权利要求的技术特征,不仅要求对比文件中包含有相应的技术特征,还要求相应的技术特征在对比文件中所起的作用和在权利要求中所起的作用相同。在某些情况下,权利要求中技术特征的表述与对比文件中相应的技术特征的表述并不相同,但由于它们所起的作用相同,仍会认定对比文件公开了权利要求中的技术特征。从这一点上也可以看出,在认定权利要求的技术特征被对比文件公开时,对相应技术特征所起作用的考量起着举足轻重的作用。当然,这里所说的“相应技术特征在对比文件中所起的作用”是指相应技术特征在对比文件的技术方案中实际所起的作用,不包括相应技术特征能别具有的其他作用。
在新颖性判断中,若认定权利要求相对于对比文件不具备新颖性,则意味着两者在技术方案、技术问题和技术效果方面都是相同的。由于每个技术特征都是为解决特定技术问题服务的,并且技术方案与技术特征之间以及技术特征彼此之间都是相互配合制约的,因此当权利要求的技术方案与对比文件的技术方案相同时,每个技术特征在各自技术方案中所起的作用通常也是相同的,也因此在新颖性的判断中,较少注意技术特征在对比文件中所起的作用。
然而,在创造性的判断中,由于引用的是多份对比文件(或说是多个技术方案),它们之间缺乏上述配合制约关系,所以当权利要求相对于最接近的现有技术存在区别技术特征时,判断另一份对比文件(或说是另一个技术方案)是否给出技术启示时,就必须考虑对比文件中披露的相关技术特征在该对比文件中所起的作用。对此,《专利审查指南》第二部分第四章第3.2节规定,“下述情况,通常认为现有技术中存在上述技术启示:……(ii)所述区别特征为最接近的现有技术的技术手段,例如,同一份对比文件其他部分披露的技术手段,该技术手段在该其他部分所起的作用与该区别特征在所要求保护的发明中为解决该重新确定的技术问题所起的作用相同。……(iii)所述区别特征为另一份对比文件中披露的相关技术手段,该技术手段在该对比文件中所起的作用与该区别特征在所要求保护的发明中需解决该重新确定的技术问题所起的作用相同。5”由此可见, 当技术特征在权利要求和对比文件中所起的作用不同时,《专利审查指南》排除了此类技术特征存在相应技术启示的可能。同样, 《专利审查指南》中的“该技术手段在该其他部分所起的作用”和“该技术手段在该对比文件中所起的作用”不应该包括该技术手段所能够起到的其他作用。
技术特征在权利要求和对比文件中所起的作用不同主要有两种情况。一是技术特征所起的作用在对比文件中有记载, 但不同于其在权利要求中所起的作用。6二是技术特征所起的作用在对比文件中没有记载,且本领域普通技术人员无法确认其在对比文件中所起的作用与其在权利要求中所起的作用相同。7在上述两种情况下,即使权利要求与对比文件具有相同的技术特征,也不能认定对比文件公开了权利要求的技术特征。
对比文件总是针对特定技术问题写给特定读者的,不可能事无巨细面面俱到。与该特定技术问题无关或者读者熟知的内容,对比文件可能作出省略或者简化。当对比文件是专利文件时,只要所属技术领域的技术人员能够实现其中的技术方案即可,换句话说,只要所属技术领域的技术人员能够按照对比文件中记载的内容,实现其中的技术方案,解决其中的技术问题,并产生预期的技术效果即可。对本领域普通技术人员来说,实现对比文件中的技术方案所必不可少的技术特征以及该技术方案所能产生的预期的技术效果都是可以确定的。根据对比文件可以确定、但未在对比文件中记载的必不可少的技术特征或必然的技术效果对所属技术领域的技术人员来说是不言而喻的,是对比文件隐含公开的内容。例如,对比文件中公开一种燃油汽车,但未记载该燃油汽车是否具有发动机。所属技术领域的技术人员知道,若要实现该燃油汽车的行驶功能,发动机是必不可少的技术特征,所以发动机属于对比文件隐含公开的内容。根据《专利审查指南》的规定,隐含公开的内容必须是从对比文件中直接地、毫无疑义地确定的内容。对此,笔者认为,所谓的“直接地确定”意在排除在确定技术特征的基础上继续引申,以至于得出的技术特征的作用不再是实现对比文件中技术方案所必不可少的。例如发动机具有气缸,气缸具有一定质量,可以单独作配重块使用,但不能认为记载燃油汽车的对比文件中隐含公开了配重块。所谓“毫无疑义地确定”意在排除当对比文件仅隐含公开上位概念的技术特征时将隐含公开内容确定需下位概念的技术特征。例如对比文件公开的是手机,手机天线是该对比文件隐含公开的内容,而外置天线或内置天线则不属于对比文件隐含公开的内容。
回到本案,专利复审委员会和无效请求人均主张证据1隐含公开了权利要求1的技术特征“沿活塞圆周部位设置有单向限流装置”。但是,一方面,由于证据1未记载带单向阀的缓冲器的完整技术方案,当事人亦末能就其完整技术方案提供相应的证明,所以不能从证据1的技术方案中得出该缓冲器必然会沿活塞圆周设置单向阔来实现活塞头的快进慢出或慢进快出;另一方面,证据1又明确记载该缓冲器探用单向阀来实现活塞杆返回到初始位置,该作用不同于权利要求1中单向阀的作用。故从认定对比文件公开了权利要求的技术特征的标准来看,最高人民法院认定证据1未公开权利要求1的技术特征“沿活塞圆周部位设置有单向限流装置”不无道理。最高人民法院以裁判的形式对认定对比文件公开的权利要求技术特征的标准作出确认,对今后的专利司法实践无疑具有重要的指导意义。
注释:
1. 专利复审委员会第14603号无效宣告审查决定。
2. 一审:北京市第一中级人民法院(2010)一中知行初第2005号行政判决书;二审:北京市高级人民法院(2011)高行终字第213 号行政判决书。
3. 最高人民法院(2012)知行字第3号行政裁定书。
4. 《专利审查指南》(2010版)第156页。
5. 《专利审查指南》(2010版)第173至174页。
6. 如在第5674号复审请求审查决定中,专利复审委员会以BaO在对比文件2和发明专利申请中所实现的技术效果并不相同,认定对比文件2没有公开权利要求中BaO的技术特征。
7. 如在第33617号复审请求审查决定中,专利复审委员会指出:在判断对比文件是否给出技术启示时,技术特征本身及其所解决的技术问题两者都应当加以考虑。如果对比文件仅记载了某技术特征,但该技术特征所解决的技术问题及所能获得的技术效果并未记载在对比文件中,而且本领域普通技术人员亦无法根据该对比文件记载的技术内容确定该技术特征所能解决的技术问题和所能获得的预期技术效果,则不能认为对比文件已经给出了应用该技术特征以解决特定技术问题的技术启示。
